AI摘要
雨云香港二区VPS测评:2核2G50M低至21元/月,三网直连CMI优化,性能稳定、延迟低,流媒体解锁丰富,适合建站与轻量应用部署。
雨云 中国·香港 云服务器,移动优化(CMI),三网直连,2核2G 50M带宽 21.28元/月;4核8G 80M带宽 74.48元/月。
这款服务器分 大带宽限流量型 和 小带宽但不限流量型,每个月用不完的流量可以叠加下去,用完流量会被限速到5兆,可购买流量恢复高速(200元1TB流量)。2核2G不限流量款的上传带宽是10兆,价格一样。
雨云简介
雨云成立于2018年,是具有自主知识产权的国产云计算服务提供商。 雨云为广大用户提供简单易用、便宜实惠、可信赖的云产品。主营包括 云服务器、裸金属服务器、虚拟主机、游戏云、对象存储、CDN内容分发、云应用 等广受好评的云服务产品。雨云是国内为数不多的自主开发财务及产品系统的厂商,成立至今服务国内外数十万名客户,包括学生、开发者、企业。
持有国家工信部颁发的《增值电信业务经营许可证》ISP证、IDC证、CDN证。
可7天内无理由退款(每个账号限3次),云服务器/游戏云产品可1元试用一天(每款限1次,部分较贵的产品试用价格高一点)。
- 雨云优惠注册地址:https://rain.zeruns.com/?s=blog
- 雨云优惠码:zeruns
- 使用优惠码注册可获得首月5折优惠券,还可在积分商城领取8折新购券,8折券可叠加官方的年付7折优惠,也就是5.6折,文章标题价格是5.6折优惠后的价格
其他性价比高的服务器推荐:https://blog.vpszj.cn/archives/41.html
评测机型信息
本期测评服务器配置
- CPU:2核
- 内存:2G
- 硬盘:30GB(扩容:固态0.4元/GB/月,机械0.1元/GB/月)
- 流量:100GB(额外流量可按[200GB 50元],[1TB 200元]充值)
- 宽带:50Mbps
- 地区:中国·香港
- 防御:无
- IP数量:1个IPv4
- 价格:38元/月(用8折优惠码后30.4元/月,叠加年付7折后255.36元/年)
普通IP是5元每个(上面价格包含一个);另外还有300G+香港移动高防IP可选,40元/月。
- 雨云 香港300G高防 E5-2650v4独服,48核64G 50兆 仅需397元/月,三网直连:https://blog.vpszj.cn/archives/2597.html
- 酷鸭数据 香港VPS 性能测评,三网直连,2核2G 5M 仅需6.9元/月:https://blog.vpszj.cn/archives/2646.html
- 莱卡云 日本BGP大带宽VPS,三网直连,1核1G 100兆 仅需28元/月:https://blog.zeruns.com/archives/892.html
- 莱卡云 越南双ISP属性VPS,4核4G 100兆 仅需113.6元/月:https://blog.vpszj.cn/archives/2688.html
- UCloud新加坡跨境轻量Pro云服务器,双ISP属性IP,1核2G 5兆 仅需57元/月:https://blog.zeruns.com/archives/876.html
- 北少云 香港A区VPS,2核2G 10兆 仅需18元/月,三网直连:https://blog.zeruns.com/archives/933.html
配置信息
CPU是 AMD EPYC 7K62
---------------流媒体解锁--感谢oneclickvirt/UnlockTests测试----------------
Can not detect IPv6 Address
测试时间: 2026-04-03 18:51:34
IPV4:
============[ 跨国平台 ]============
Apple YES (Region: HKG)
BingSearch YES (Region: HK)
Claude YES
Dazn YES (Region: HK)
Disney+ YES (Region: HK)
Gemini NO
GoogleSearch YES
Google Play Store YES (Region: HK)
IQiYi YES (Region: US)
Instagram Licensed Audio YES
KOCOWA NO
MetaAI YES
Netflix YES (Region: HK)
Netflix CDN HK
OneTrust YES (Region: HK)
ChatGPT YES (Only Available with Mobile APP)
Paramount+ Unknown: get www.paramountplus.com failed with code: 406
Amazon Prime Video YES (Region: HK)
Reddit YES
SonyLiv YES (Region: IN)
Sora Banned (VPN Blocked)
Spotify Registration NO
Steam Store YES (Community Available) (Region: HK)
TVBAnywhere+ YES (Region: HK)
TikTok YES (Region: ALISG)
Viu.com YES
Wikipedia Editability NO
YouTube Region YES (Region: HK)
YouTube CDN NRT
---------------------TikTok解锁--感谢lmc999的源脚本---------------------
Tiktok Region: 【ALISG】性能测试
lemonbench
单核:1597.76 分,多核:3123.08 分,多线程倍率 1.95x
测试脚本:
curl -fsL jsdelivr.zeruns.com/gh/LemonBench/LemonBench@master/LemonBench.sh | bash -s -- --fullCPU-Z
单核 378.7 分,多核 737 分,多线程倍率 1.95
CPU-Z下载地址:https://url.zeruns.com/cpuz
宝塔性能测试
单核 598 分,多核 1192 分(下图为新版宝塔跑分)
宝塔安装脚本:
if [ -f /usr/bin/curl ];then curl -sSO https://download.bt.cn/install/install_panel.sh;else wget -O install_panel.sh https://download.bt.cn/install/install_panel.sh;fi;bash install_panel.sh ed8484becUnixbench测试
单核 1348.8 分,多核 2660.4 分
测试脚本:
wget --no-check-certificate https://gitee.com/zeruns/Linux-shell/raw/master/unixbench.sh && chmod +x unixbench.sh && ./unixbench.shGeekbench 5
单核 879 分,多核 1643 分。
完整测试报告:https://url.zeruns.com/BF2t8
测试脚本:
wget --no-check-certificate https://img.zeruns.com/down/Geekbench-5.4.3-Linux.tar.gz && tar xf Geekbench-5.4.3-Linux.tar.gz && cd Geekbench-5.4.3-Linux && ./geekbench_x86_64Geekbench 6
完整测试报告:https://url.zeruns.com/5145c
单核 1126 分,多核 2052 分。
测试脚本:
wget --no-check-certificate https://img.zeruns.com/down/Geekbench-6.3.0-Linux.tar.gz && tar xf Geekbench-6.3.0-Linux.tar.gz && cd Geekbench-6.3.0-Linux && ./geekbench_x86_64
# ARM版
wget https://img.zeruns.com/down/Geekbench-6.1.0-LinuxARMPreview.tar.gz && tar xf Geekbench-6.1.0-LinuxARMPreview.tar.gz && cd Geekbench-6.1.0-LinuxARMPreview && ./geekbench_aarch64Serverreview
测试脚本:
curl -LsO https://jsdelivr.zeruns.com/gh/sayem314/serverreview-benchmark@master/bench.sh; chmod +x bench.sh && ./bench.sh -a share带宽测试
大陆三网 IPv4 多线程测速结果如下:下载速率最大50.55Mbps,上传速率最大49.97Mbps。
测试脚本:
bash <(curl -sL https://jsdelivr.zeruns.com/gh/i-abc/Speedtest@master/speedtest.sh)网络延迟
三网平均延迟 56ms,最快上海电信 32ms。
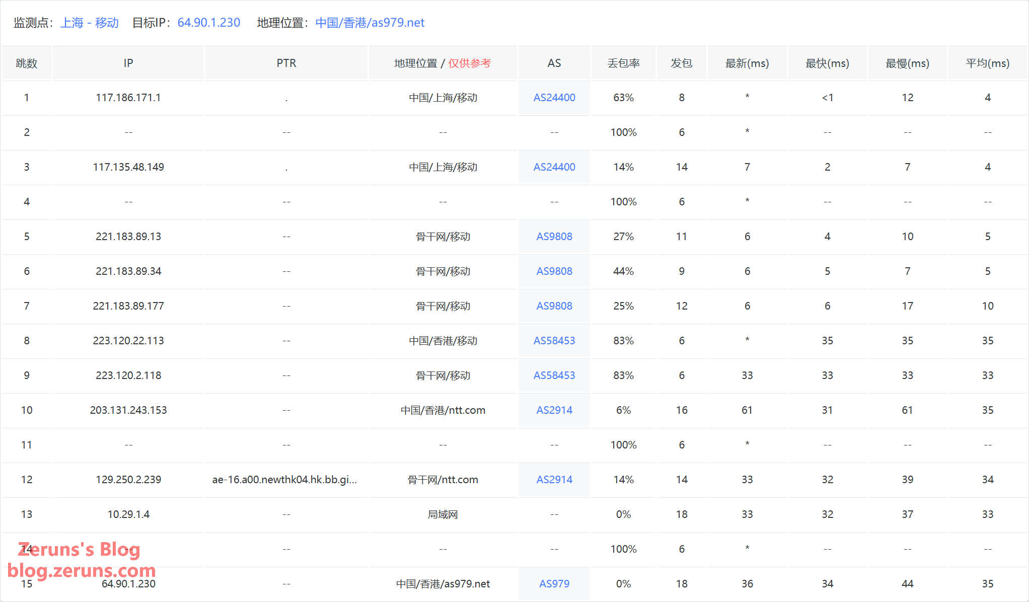
网络路由
三网回程均走移动CMI线路。
去程
上海联通去程,直连到香港。
回程
回程到上海电信,走移动CMI线路直连到上海。
回程到广州联通,走移动CMI线路直连到上海再到广州。
回程到广州移动,走移动CMI线路直连到广州。
IP质量分&邮件端口可用性
-------------IP质量检测--基于oneclickvirt/securityCheck使用--------------
数据仅作参考,不代表100%准确,如果和实际情况不一致请手动查询多个数据库比对
以下为各数据库编号,输出结果后将自带数据库来源对应的编号
ipinfo数据库 [0] | scamalytics数据库 [1] | virustotal数据库 [2] | abuseipdb数据库 [3] | ip2location数据库 [4]
ip-api数据库 [5] | ipwhois数据库 [6] | ipregistry数据库 [7] | ipdata数据库 [8] | db-ip数据库 [9]
ipapiis数据库 [A] | ipapicom数据库 [B] | bigdatacloud数据库 [C] | dkly数据库 [D] | ipqualityscore数据库 [E]
ipintel数据库 [F] | ipfighter数据库 [G] | fraudlogix数据库 [H] | cloudflare数据库 [I] |
IPV4:
安全得分:
信任得分(越高越好): 100 [8]
VPN得分(越低越好): 0 [8]
代理得分(越低越好): 0 [8]
社区投票-无害: 0 [2]
社区投票-恶意: 0 [2]
威胁得分(越低越好): 1 [8]
欺诈得分(越低越好): 0 [E]
滥用得分(越低越好): 0 [3]
ASN滥用得分(越低越好): 0.0131 (Elevated) [A]
公司滥用得分(越低越好): 0.0002 (Very Low) [A]
威胁级别: low [B]
流量占比: 真人(越高越好)15% [I] 机器人(越低越好)84% [I]
黑名单记录统计:(有多少黑名单网站有记录):
无害记录数: 0 [2] 恶意记录数: 0 [2] 可疑记录数: 0 [2] 无记录数: 94 [2]
安全信息:
使用类型: unknown [8] hosting [A C] business [0 7] Commercial [3]
公司类型: business [0] hosting [7 A]
浏览器类型: 主流43% 其他56% [I]
设备类型: 桌面46% 移动53% 其他0% [I]
操作系统类型: 主流97% 其他2% [I]
是否云提供商: Yes [7]
是否数据中心: Yes [A C] No [0 5 8 G]
是否移动设备: No [5 A C G] Yes [E]
是否代理: No [0 4 5 7 8 A B C E] Yes [G]
是否VPN: No [0 7 A C E G]
是否Tor: No [0 3 7 8 A B C E]
是否Tor出口: No [7]
是否网络爬虫: No [A B E]
是否匿名: No [7 8]
是否攻击者: No [7 8]
是否滥用者: No [7 8 A C E]
是否威胁: No [7 8 C]
是否中继: No [0 7 8 C]
是否Bogon: No [7 8 A C]
是否机器人: No [E]
DNS-黑名单: 304(Total_Check) 0(Clean) 8(Blacklisted) 17(Other)
Google搜索可行性:NO
------------邮件端口检测--基于oneclickvirt/portchecker开源------------
Platform SMTP SMTPS POP3 POP3S IMAP IMAPS
LocalPort ✔ ✔ ✔ ✔ ✔ ✔
QQ ✘ ✔ ✘ ✘ ✘ ✘
163 ✘ ✔ ✘ ✘ ✘ ✘
Sohu ✘ ✔ ✘ ✘ ✘ ✘
Yandex ✘ ✔ ✘ ✘ ✘ ✘
Gmail ✘ ✔ ✘ ✘ ✘ ✘
Outlook ✘ ✘ ✘ ✘ ✘ ✘
Office365 ✘ ✘ ✘ ✘ ✘ ✘
Yahoo ✘ ✔ ✘ ✘ ✘ ✘
MailCOM ✘ ✔ ✘ ✘ ✘ ✘
MailRU ✘ ✔ ✘ ✘ ✘ ✘
AOL ✘ ✔ ✘ ✘ ✘ ✘
GMX ✘ ✔ ✘ ✘ ✘ ✘
Sina ✘ ✔ ✘ ✘ ✘ ✘
Apple ✘ ✔ ✘ ✘ ✘ ✘
FastMail ✘ ✔ ✘ ✘ ✘ ✘
ProtonMail✘ ✘ ✘ ✘ ✘ ✘
MXRoute ✘ ✘ ✘ ✘ ✘ ✘
Namecrane ✘ ✔ ✘ ✘ ✘ ✘
XYAMail ✘ ✘ ✘ ✘ ✘ ✘
ZohoMail ✘ ✔ ✘ ✘ ✘ ✘
Inbox_eu ✘ ✔ ✘ ✘ ✘ ✘
Free_fr ✘ ✔ ✘ ✘ ✘ ✘测试脚本:
curl -L https://gitlab.com/spiritysdx/za/-/raw/main/ecs.sh -o ecs.sh && chmod +x ecs.sh && bash ecs.sh推荐阅读
- 高性价比和便宜的VPS/云服务器推荐: https://blog.zeruns.com/archives/383.html
- 我的世界开服教程:https://blog.zeruns.com/tag/mc/
- 雨云 RCA云应用(基于K8s) 搭建PHP网站的教程:https://blog.zeruns.com/archives/869.html
- 跨境电商独立站搭建教程,WordPress外贸建站指南:https://blog.zeruns.com/archives/889.html
- 雨云 7A23宁波100G高防游戏云VPS,4核8G 15兆 仅需78.4元/月:https://blog.vpszj.cn/archives/2693.html
- CommentAI - Typecho博客AI智能评论审核&回复插件:https://blog.zeruns.com/archives/931.html
- 【开源】基于SC8703的升降压DCDC可调电源(Buck-Boost),电压电流可调,支持PD快充输入:https://blog.zeruns.com/archives/929.html

















